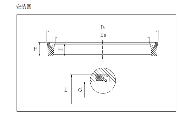
轴用 YX形密封圈适用于以空气、矿物油为介质的各种机械设备中,在温度-20~+80℃、 工作压力≤31.5MPa 条件下起密封作用的轴用 YX 形气密封圈。轴用 YX形密封圈是依靠其张开的唇部紧贴于密封轴表面而保持密封的,通常也可单独使用,其密封性能较好,摩擦阻力较小,耐压性能好,工作稳定性好,使用寿命长。
双唇U形圈密封件
防尘圈在密封中的功能